
机械振动式和反吹风式清灰属于间歇清灰,即把除尘器分成若干过滤室,逐室切断气路依次清灰,这种方法在清灰过程中无粉尘外逸,可以获得较高的除尘效率。
脉冲喷吹式清灰属于连续清灰,即不切断气路,连续不断地对滤袋的一部分进行清灰。在连续清灰过程中压力损失稳定,适合于处理高浓度含尘气体。
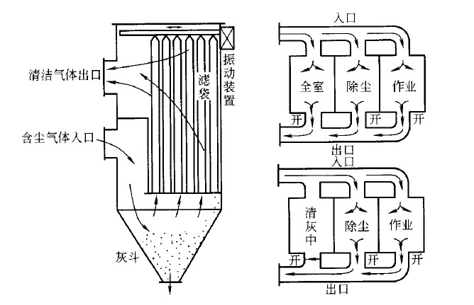
1、机械振动式清灰
利用机械装置阵打或摇动悬吊滤袋的框架,使滤袋产生振动而清落灰尘,圆袋多在顶部施加振动,使之产生垂直或水平的振动,或者垂直或水平两个方向同时振动,施加振动的位置也有在滤袋中间位置的。由于清灰时粉尘要扬起,所以振动清灰时常采用分室工作制,即将整个工业除尘设备分隔成若干个袋室,顺次地逐室进行清灰,可保持工业除尘设备的连续运转。进行清灰的袋室,利用阀门自动地将风流切断,不让含尘空气进入。以顶部为主的振动清灰,每分钟振动可达数百次,使粉尘脱落入灰斗中。 振动清灰的强度可由振动的最大加速度来表示,清灰强度和振动频率的二次方与振幅之积成正比。但是,振动频率过高时,则振动向全部滤袋的传播不够充分,而是有一个比较合适的范围。采用振动电机时,一般取振动频率为20-30次/s,振幅为20-50mm,减少振幅,增加频率,能减轻滤布的损伤,并能使振动波及与整个滤袋。对于黏附性强的粉尘,需增大振幅,减少滤袋张力,以增强对沉积粉尘层的破坏力。
振动清灰方式的机械构造简单,运转可靠,但清灰作用较弱,适用于纺织布滤袋。
2、反吹风式清灰
反吹风式清灰也叫反吹气流或逆压清灰,这种方式多采用分室工作制度,利用阀门自动调节,逐室地产生与过滤气流方向气流。反吹清灰法多用内滤式,由于反向气流和逆压得作用,将圆筒形滤袋压缩成星形断面,并使之产生反向风速和振动而使沉积的粉层尘脱落。因为是内滤式,所以要适当地调整滤袋的拉力,使滤袋的变形收缩不过大也不过小。为此在滤袋长度方向上隔一定距离加一金属环,控制滤袋的变形,使清灰作用比较均匀地分布到整个滤袋上。在清灰期间,多进行两次以上反吹的清灰过程。
这种清灰方式大多使用编织布滤料如729滤布,对于比较容易清落的粉尘也可使用过滤粘类滤料。反向气流的产生,对付压式是关闭出口侧阀门,打开反吹风阀门,由大气或者风机排出管道吸入气体而形成反向气流:对于正压式,则关闭灰斗入口侧阀门,打开反吹风阀门,由通往风机的入风管道吸入大气而形成反向气流。为增向反吹效果,也有安设专门小型风机的形式。
反吹清灰方式的清灰作用比较弱,比振动清灰方式对滤布的损伤作用要小,所以,玻璃纤维滤布多采用这种清灰方式。
3、脉冲喷吹式清灰
固定滤袋用的多孔板(花板)设在箱体的上部,在每排滤袋的上方有一喷吹管,喷吹管上对着每一滤袋的中心开一压气喷射孔(嘴),喷吹管的另一端与脉冲阀、控制阀等组成的脉冲控制系统及压缩空气储气罐相连接,根据规定的时间或阻力值,按自动控制程序进行脉冲喷吹清灰。
滤袋多采用外滤式,内侧设支撑骨架,粉尘被捕集而沉降在滤袋的外侧的表面。清灰时的一瞬间,当高速喷射气流通过滤袋顶端时,能诱导几倍于喷射气量的空气,一起吹向滤袋内部,形成空气波,使滤袋由上向下产生急剧的膨胀和冲击振动,产生很强的清落粉尘的作用。脉冲周期可以调整,一般为一分钟到几分钟。 根据脉冲喷吹气流与净化气流的流动方向,有顺喷式、逆喷式和对喷式三种方式。顺喷式为两种气流方向一致,净化后清洁空气由滤袋底部排出:对喷式实际是把滤袋分为两部分,一半对喷,另一半顺喷。在喷吹时,被清灰的滤袋不起捕尘作用,因喷吹时间很短,且滤袋是一排一排第一次进行喷吹清灰,几乎可以把捕尘作业看作是连续进行的,因此可以采取分室结构进行离线清灰,也可以不分室进行在线清灰。
脉冲清灰作用较强,清灰效果较好,可提高过滤风速。其强度和频率都是可以调节的,清灰作用于大气压文氏管构造以及射流中心线和滤袋中心线是否一致等因素有关。滤袋较长时,使用较好的喷吹装置同样可以获得良好的清灰效果。由于清灰作用强,对于粘类滤料也是有效的。毡类滤料的使用也开始广泛起来。毡类滤料,从微观角度来看,整体都可,用于有效过滤,所以,其表观过滤速度可比纺织布高,从而使装置小型化。脉冲喷吹装置需要压缩空气作能源,在寒冷地带因压缩空气中的水汽容易凝结而影响喷吹效果,故不宜放在室外应采取相应技术措施防止结露或冻结。
4、脉冲反吹式清灰
脉冲反吹清灰方式是对前述凡吹清灰方式的反向气流给与脉动动作的清灰方式,它具有较强的清灰作用,但要有能产生脉动作用的机械构造。由于清灰作用较强,如采取部分滤袋逐次清灰时,则不需要分室结构形式。
5、反吹振动联合清灰方式
反吹振动联合清灰方式指仅用反吹清灰方式不能充分清落灰尘时,再加上微弱振动的联合清灰方式,高温玻璃纤维滤袋实际上多采用这种联合清灰方式。
6、气环反吹清灰方式
这种清灰方式是在内滤式圆型滤袋的外侧,贴近滤袋表面设置一个中空带缝的圆环,圆环可上下运动并于压缩空气或高压风机管道相接,由圆环上内向的缝状喷嘴喷出的高速气流,把沉积于滤袋内侧的粉尘层清落。气环反吹工作原理是相邻几个气环组成一组,固定在一个框架上,用链条传动,使之沿导轨上下移动,其结构比较复杂,且容易发生损伤滤袋的现象。因脉冲喷吹清灰方式的应用,除特殊用途外,已很少应用。
7、气箱脉冲清灰方式
气箱脉冲清灰方式也叫强制脉冲方式,其特点是将滤袋分成若干室,在滤袋上方净气箱内用隔板分隔起来而形成分室,滤袋的上端不设文氏管。清灰是按顺序逐室进行的,关闭排气口阀门,从一侧向分室上部喷射脉冲气流,经分室进入到各个滤袋内,利用其冲击与膨胀作用清灰。
工业除尘设备,清灰方式,除尘方案咨询电话:13970890972,涂工。
工业除尘设备,清灰方式,除尘方案咨询电话:13970890972,涂工。